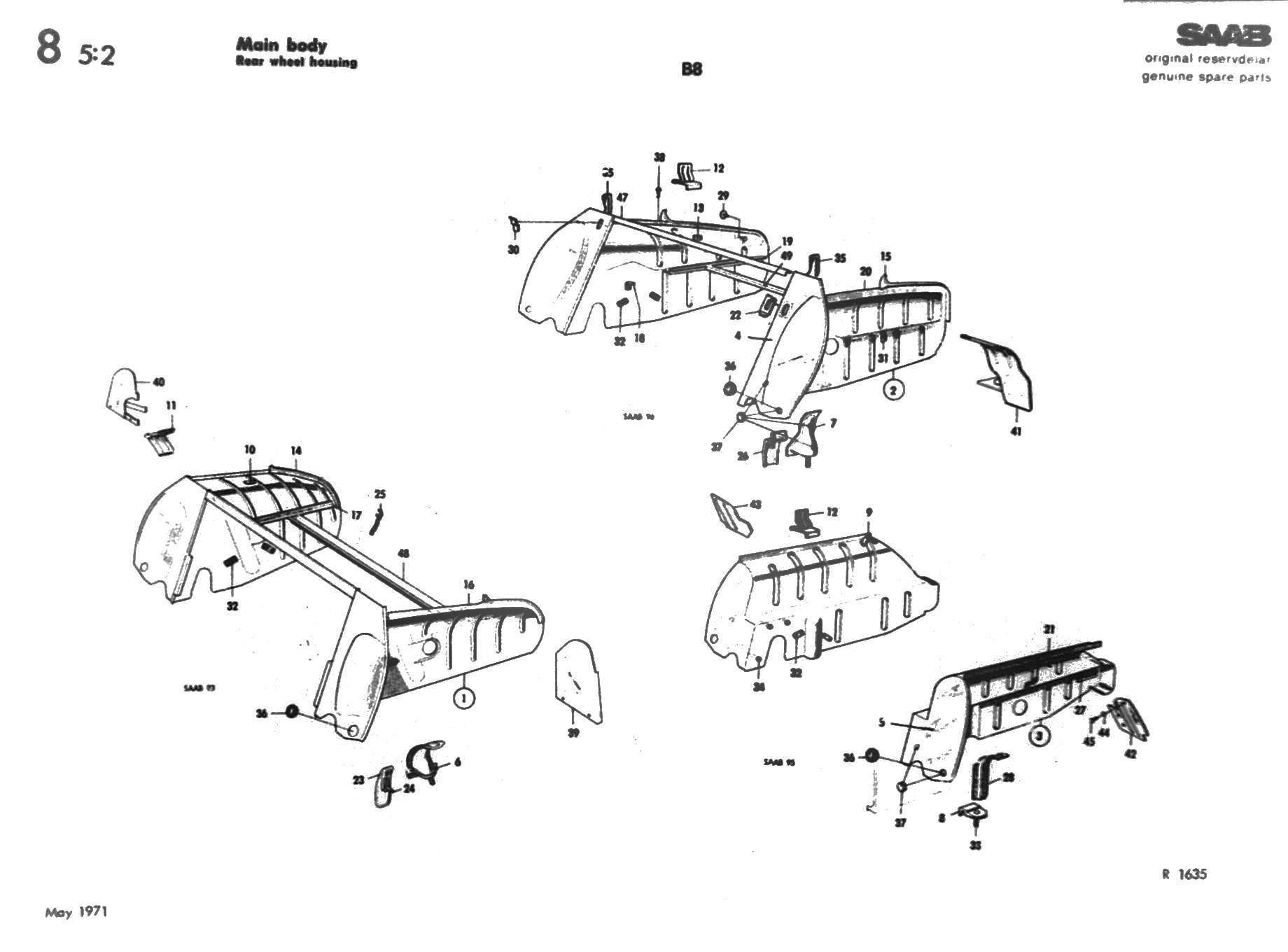
5-B08         ↑ Main Index     < Previous     Next >

5-B08